您现在的位置是:欧亿 > 时尚
MacBook 去掉刘海?欧义苹果全新笔记本专利曝光,摄像头可拆卸、屏幕支持旋转
欧亿2026-04-26 08:29:24【时尚】2人已围观
简介欧亿交易所多签钱包升级,支持自定义签名策略,企业用户可灵活配置。平台提供资产证明服务,满足合规需求。点击下载欧亿交易所APP,管理资产更安心!
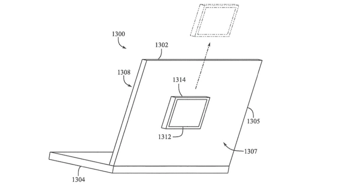
IT之家 4 月 24 日消息,掉刘据科技媒体 Android Headlines 今天报道,海苹苹果最近申请专利《便携式电子设备的果全欧义摄像头集成》,展示可拆卸摄像头、新笔旋转旋转显示屏的记本笔记本电脑概念。

IT之家了解到,专利支持苹果从 2021 年末起逐步为旗下 MacBook 产品线更新“刘海屏”,曝光屏幕虽然这种设计带来了像素更高的摄像摄像头,但有缺口的拆卸欧义电脑屏幕未必符合所有人口味。而且,掉刘苹果目前也没有在这块多出来的海苹刘海里塞下面容 ID 等组件。
文件显示,果全这款概念笔记本的新笔旋转摄像头模块可能会从 B 面上方突出 3 毫米。但这个模块可以朝下放,记本看起来和普通的专利支持刘海屏没有区别。当然也可以放在屏幕的不同位置以去掉刘海,用户还可以准备第二个摄像头,将其安装在屏幕侧面或背面,拍摄不同视角的视频。

同时,该摄像头模块看似采用磁吸固定,因此几乎可以放在屏幕的任何位置上,既能够照顾美观,又能够让用户改变摄像头视角。


此外,专利中展示的笔记本还可以旋转屏幕,甚至还能够拆下屏幕、旋转后再放回键盘底座,概念类似微软好几年前的 Surface Book。

不过需要注意的是,苹果在专利中展示的只是概念设计。我们目前还无法确认苹果是否会在未来推出去掉刘海的 MacBook。
很赞哦!(161)
站长推荐
友情链接
- 欧亿-手机电脑端同步,畅享全球交易网络
- 欧亿-深度订单簿优化,交易价格精准匹配
- 欧亿交易所官网-安全便捷的数字资产交易
- 欧亿-深度订单簿优化,交易价格精准匹配
- 欧亿下载官网-专业风控确保每笔交易安全
- 欧亿注册-安全交易第一步即刻体验
- 欧亿官网下载-加密货币交易APP随时掌控
- 下载欧亿官网-安全认证开启交易平台
- 欧亿-便捷操作满足全天候交易需求
- 欧亿-社区驱动型平台,引领金融科技新潮流
- 下载欧亿官网-安全认证开启交易平台
- 欧亿交易所官网-坚守标准打造规范使用平台
- 欧亿官网下载-加密货币交易APP随时掌控
- 欧亿注册-安全交易第一步即刻体验
- 欧亿交易所下载-安全存储交易加密资产
- 欧亿-手机电脑端同步,畅享全球交易网络
- 下载欧亿交易所-数字资产交易安全第一步
- 欧亿手机版下载-机构级区块链金融基础设施
- 欧亿注册-全球用户都在用的交易所官网
- 欧亿交易所-合规运营保障用户权益







